菜单

新闻资讯

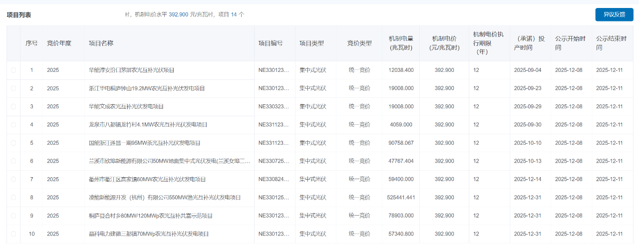
浙江机制电价出炉:0.3929元/度,14个集中式光伏项目入围!

2025/12/9 9:35:14 admin 阅读 210【次】

12月8日,国网新能源云公示浙江省机制电价竞价结果,0.3929元/度,入围项目共14个,机制电量为13.57亿度电。


根据浙江省136号文竞价文件,本次竞价主体范围为2025年6月1日(含)至2025年12月31日(含)全容量投产的新能源项目。


机制电量总规模为光伏发电147.4万兆瓦时,单体申报比例上限为90%。


机制电价申报价格上限为393元/兆瓦时(0.393元/千瓦时),申报价格下限为242元/兆瓦时(0.242元/千瓦时)。


联系我们

地址:中国•西安西咸新区西部云谷二期6号楼,邮编:710000

E-mail:zoompvtech@sxzkgc.com

电话:029-88686559

Copyright© 2019--2029 中茂光伏科技有限公司 All Right Reserved